Italian motorcycle brand Ducati performance tech or product design dono mein full on innovate karta ja raha hai, especiallyapni 2026 lineup ke liye. Recent updates se lagta hai ki new Panigale V4R ka race inspired gearbox future mein or zyada Ducati bikes mein dekhne ko mil sakta hai. Saath hi, official design filings ne 2 most awaited models ke production ready versions bhi reveal kar diye hai, DesertX V2 adventure bike or Desmo 450EDS enduro.
Panigale V4 R Transmission: Race DNA for more Ducati Models

Image Courtesy: Motorcycle News
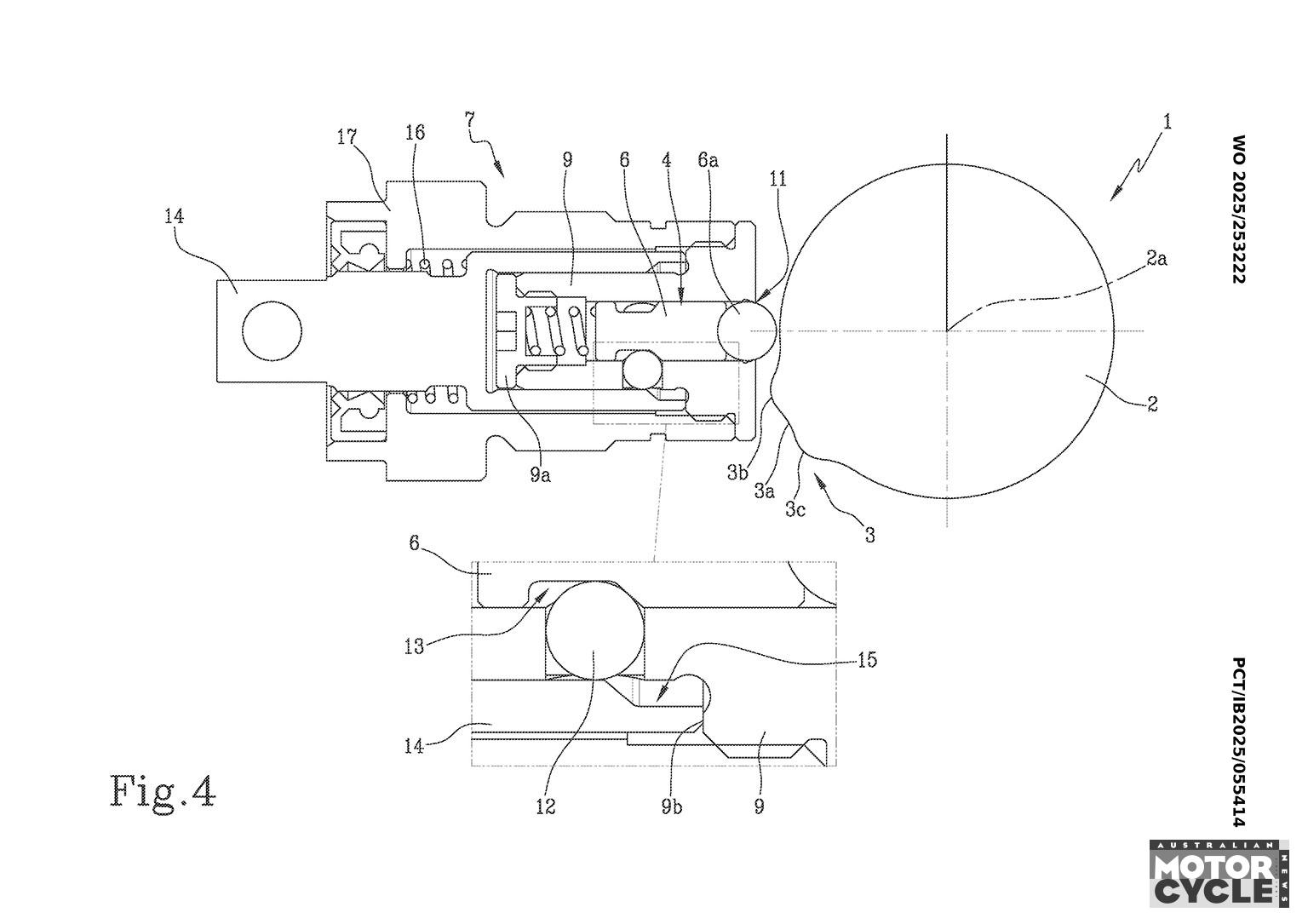
Patent reveals Race style Gearbox Tech
Ducati ne Panigale V4 R race style transmission ke liye patent file kiya hai. Ye normal bike ke gearbox se kaafi different hai. Usually bikes mein one down, five up pattern hota hai, but is system mein neutral first gear ke below diya gaya hai, jo mostly racing bikes mein hi dekhne ko milta hai.
What This means for future Ducati's
- Is patent mein ek neutral lock-out system explain kiya gaya hai, jiska name Ducati Neutral Lock (DNL) hai, jo ride ke between galti se neutral lag jaane se rokta hai.
- Ducati ka kehna hai ki unka design rival systems ke comparison mein zyada simple, affordable or more reliable hai.
- Low cost or simple design ki wajah se, Ducati in the coming years apart from Panigale V4 R apni or road focused bikes mein bhi ye gearbox introduce kar sakti hai.
Confirmed Designs for two upcoming 2026 Ducati Bikes
DesertX V2: Adventure Refined

Image Courtesy: Motorcycle News
Design registrations se first time production ready DesertX V2 ki proper glimpse dekhne ko mili hai, Ducati ki adventure bike ka next version. Final bike ka design to some extent EICMA mein showcase kiye gaye prototype jaisa hi hai, bas ab isme kuch important road legal things add kar di gayi hai.
- Street exhaust ne jo pehle preview pipe laga tha, usko replace kar diya.
- Mirrors and license plate bracket
- Bike mein two piece seat di gayi hai, or riding ergonomics bhi ab properly final ho gaye hai.
Bike ka overall look pura retro Dakar inspired hi hai, or isme 890cc ka V-twin engine use hua hai jo Ducati ke latest V2 models ke saath shared hai. Isse production or parts sharing dono easy ho jaate hai.
Desmo450 EDS: Street legal Enduro
DesertX V2 ke saath saath, Ducati ka Desmo450 EDS, jo pehle ek off road concept ke form mein present ki gayi thi, ab officially designs ke saath aaya hai, jo ye confirm karte hai ki bike mein kuch subtle but kaafi important changes kiye gaye hai, so that ye road ready ho sake.
What this means for Ducati's lineup

Image Courtesy: Motorcycle News
Ye development clearly show karte hai Ducati ki strategy:
- Racing wali tech ko normal production bikes mein lana, Panigale V4 R ka transmission use karna clearly show karta hai ki performance wali cheezein ab mainstream models tak trickle down ho rahi hai.
- 2026 ke model range ko fresh designs ke saath expand kiya ja raha hai, DesertX V2 or Desmo450 EDS both these models ye confirm karte hai ki future mein har segment mein products ki solid depth hone wali hai.
Ye approach Ducati ko premium sports or adventure bikes ke segment mein or strong banata hai, or saath hi brand ko enthusiasts ke saath saath everyday riders ke liye bhi zyada appealing bana deta hai.