7 June 2024 ko BMW ne ek patent register kiya tha, jisme kuch designs the jo public ko 11 December ko public ho gaye, almost 1.5 years baad. Jaise hi ye patent public hua, audience ke different reactions aane lage, jo honestly ab BMW ke case mein normal ho chuka hai. Jab bhi Bavarian brand se related koi news aati hai, aisa hi hota hai.
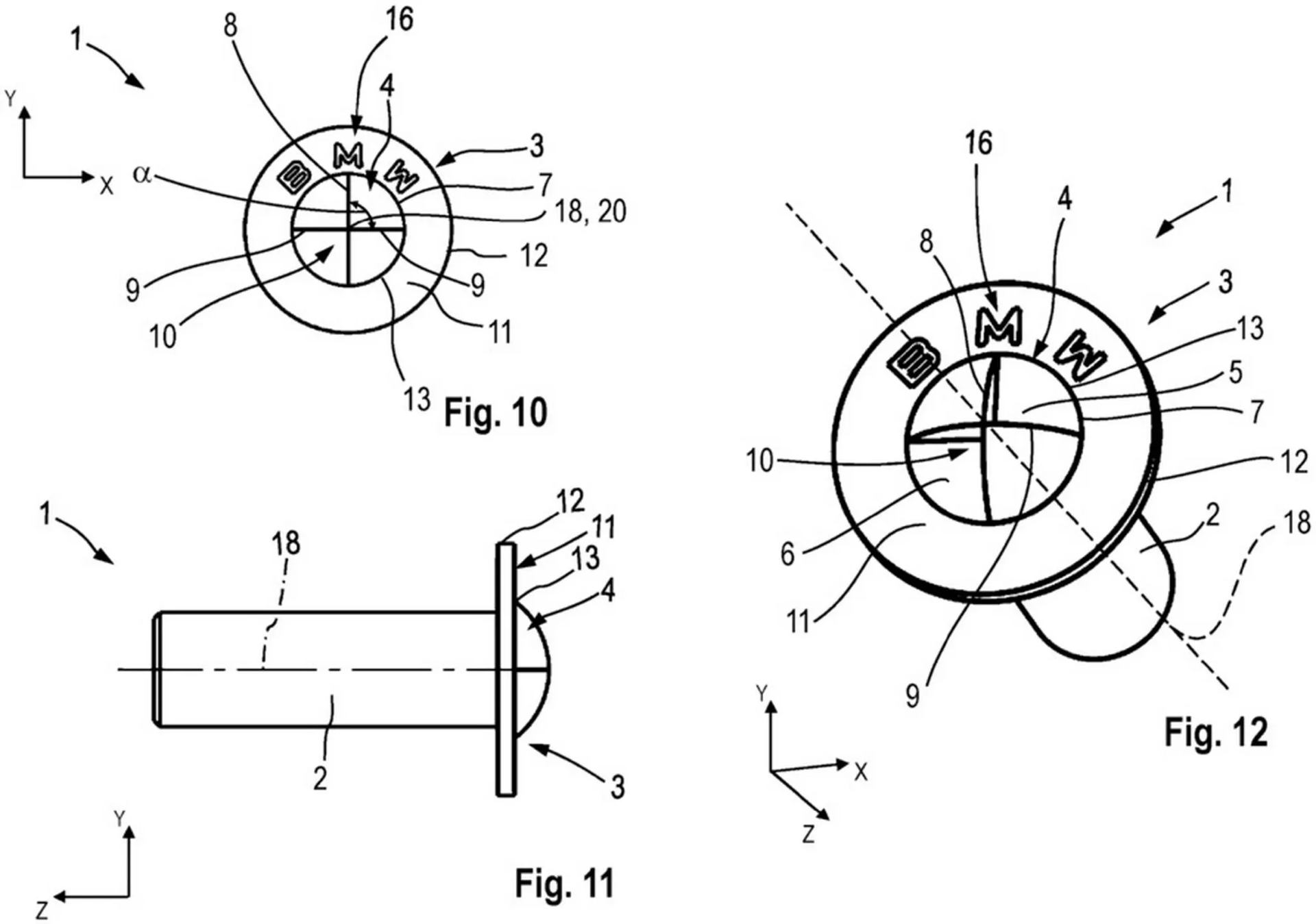
Ye patent sunne mein simple lagta hai, but iska impact kaafi bada ho sakta hai. Basically, ye hai ki aise screws ke baare mein hai jinke head BMW ke logo ke shape mein bane hote hai, jo dekhne mein kaafi premium or stylish lagte hai, brand ke iconic logo ko mind mein rakhte hue.
Problem ye hai ki aise screws normal workshops ke liye issue create kar sakte hai, especially local mechanics jo authorized BMW service centres mein job nahi karte, ya phir un owners ke liye jo khud apni gaadi ke repairs karna pasand karte hai.
BMW files a confidential patent
Patent mein jo design show ho raha hai usmein white or blue face different depth pe hai, jahan blue wale white se zyada deep hai. This means ye screws ko use ya open karne ke liye special tools chahiye honge, normal universal screws ya phir rare tri-wing screws se bhi kaam nahi chalga.
Abhi ke liye ye sirf ek patent hai, bas ek sketch ke saath, Hum "sirf" isliye keh rahe hai because kaafi companies patents register kar leti hai, but ye necessary nahi ki sab cheezein real world mein actually use ho hi jaayein. Bilkul waise hi jaise multiple registered names hote hai, chahe model names ho ya phir ideas, jo future cars mein use ho bhi sakte hai ya phir bilkul nahi.
Patents that succeed in reaching the market and those that do not
Ek thoda zyada extreme example Apple ki car ka hai. Apple ne autonomous car ke liye 100 se bhi zyada patents register kar liye the, jo Waymo, Tesla ya jo Volkswagen abhi develop kar raha hai unse compete karne wali thi. But ye car kabhi market mein aayi hi nahi. Yahan tak ki ek patent aisa bhi tha jisme laser technology use karke normal windshield wipers ko replace karne ka idea tha, whereas aaj ke time mein wipers hi car ka sabse easy or affordable maintenance wala part hote hai.
Agar ye patent real mein reality ban gaye toh kya hoga? Unofficial workshops ke liye jin ke paas factory tools nahi hote (ya phir hote bhi hai), things will become much more complicated . Kuch waisa hi scene ho sakta hai jaisa Hyundai IONIQ 5N ke brakes ke maintenance ke time hua, jahan official tool (Global Dynamic System) ke liye software + hardware mila ke approx. $6,000 (around Rs.5 lakh) ka expense aata hai.
BMW is focusing on upcoming launches scheduled for 2026
Social media pe jo fans apne impressions share kar rahe hai, unmein se kuch logon ne jokes bhi kiye hai Temu ya AliExpress jaise platforms par in screws ke special shape ke according bane screwdrivers maybe tab tak milne lag jaayein, jab tak screws khud market mein aaye bhi na ho. Aisa hoga ya nahi, ye toh baad mein pata chalega, but aisi situation hona bilkul impossible bhi nahi hai.
Abhi at the moment BMW ke screws market mein actually available nahi hai, bas ek patent hai. In future BMW is idea ka kya karti hai, maybe new BMW iX4, i3, X5 facelift, 3 Series ke update or 2026 mein aane wale or new features ke saath.
Background on vehicle maintenance
Is example se ek "dangerous" precedent set ho sakta hai: jaise IONIQ 5N ke brakes ke case mein dikh raha hai, waise-waise brands apna specific software or hardware use karna mandatory bana rahe hai. Isse local workshops ke liye work kaafi challenging ho jaata hai, or un owners ke liye bhi jo khud apni car ko garage mein, apne tools se maintain karna pasand karte hai. Basically, yeh ek method hai vehicle maintenance ko privatize karne ka.

Image Courtesy: Carscoops
And precisely isi ke saath electric cars ka growth bhi aa raha hai, jisko industry future ki next wave assume kar rahi hai, Ye trend future mein or grow hone wala hai. Electric propulsion system kaafi "tight" hota hai, means combustion engine ke jaise usme itni cheezon ko force ya tune nahi kar sakte. IC engine mein various components hote hai jinhe tune ya modify kiya ja sakta hai, but EVs mein wo freedom reduce ho jaati hai. That's the reason kuch brand fans, jaise Abarth ke lovers, little bit of disappointed bhi hai.